Pin furnace anchors are commonly used metal anchoring elements in refractory lining systems of industrial furnaces and kilns. They are typically welded to the steel plate of the furnace shell and used to support and secure refractory castables, wear-resistant refractory materials, or hexagonal mesh structures. Through point or surface anchoring methods, they ensure that the refractory material maintains a stable position during high-temperature operation, preventing detachment and cracking.
During the operation of industrial furnaces, refractory linings are subjected to multiple effects, including high temperatures, thermal shock, and mechanical vibration. Anchoring nails effectively enhance the integrity of the furnace lining by firmly fixing the refractory material to the furnace structure, preventing detachment caused by thermal expansion or gravity.
The length, diameter, material, and arrangement density of pin Furnace anchor should be rationally designed based on the thickness of the refractory material, the service temperature, and the furnace structure. For areas with high wear or high vibration, they are typically used in conjunction with hexagonal wire mesh to further enhance the stability and durability of the refractory layer.
The function of pin Furnace anchor is to fix the connected linings in a certain position to resist static loads, thermal stress, mechanical rotation, or vibration. pin Furnace anchor help prevent the collapse of the material before ceramic bonding during construction and heating, and also help ensure uniform material shrinkage, avoiding the formation of large and concentrated cracks in the lining.
![]()
![]()
Metal anchor material and maximum operating temperature
|
Material |
Operating temperature/℃ |
Material |
Operating temperature/℃ |
|
Low carbon steel |
450 |
320 type stainless steel |
900 |
|
Silicon steel |
650 |
309 type stainless steel |
1050 |
|
Ferrochrome(Cr15%) |
850 |
310 type stainless steel |
1100 |
|
Ferrochrome(Cr≥15%) |
950 |
Chromium-nickel-iron alloy |
1200 |
![]()
They are categorized into Y-type, V-type, T-type, M-type, Z-type, and S-type. Metal pin Furnace anchor are used to support and secure thinner linings made of refractory castables, refractory plastics, and refractory spray coatings. The shape of the metal anchor bolt used depends on the structure of the lining.

![]()
The arrangement and spacing of pin Furnace anchor depend on the shape of the furnace shell or components, the material (density) and thickness of the lining, the operating temperature and conditions (continuous and intermittent operation), and the magnitude of the thermal and mechanical stresses borne by the lining. The arrangement of pin Furnace anchor must be considered to provide sufficient support strength without causing long cracks in the refractory material during thermal expansion and contraction.
![]()
Metal pin Furnace anchor are commonly used to support and secure thin or insulated monolithic linings, such as chimney linings, wear-resistant linings of petrochemical catalytic cracking reactors (often using tortoise-shell mesh anchors), linings of integral spray guns in jet metallurgy, monolithic linings of impregnated pipes in DH and RH vacuum degassing units, and linings at the discharge and feed inlets of rotary kilns. They are also used to secure linings with long-term operating temperatures below 1200℃, or linings with intermittent, short-term operating temperatures above 1200℃.

Y-type anchor parameter table
|
Type |
Parameter |
||||||||
|
A |
B |
E |
L1 |
L2 |
D |
R |
C |
Single weight(kg) |
|
|
MY-1MYQ1 |
100 |
60 |
20 |
127 |
69 |
12 |
12 |
30 |
0.17 |
|
MY-2/MYQ2 |
125 |
75 |
155 |
81 |
0.21 |
||||
|
MY-3/MYO3 |
150 |
90 |
182 |
93 |
0.24 |
||||
|
MY-4/MYQ4 |
175 |
100 |
25 |
210 |
116 |
0.29 |
|||
|
MY-5/MYQ5 |
200 |
120 |
236 |
122 |
0.32 |
||||
|
MY-6/MYO6 |
225 |
125 |
266 |
147 |
0.37 |
||||
|
MY-7/MYO7 |
250 |
150 |
291 |
0.39 |
|||||
|
MY-8/MYO8 |
275 |
175 |
316 |
0.41 |
|||||
|
MY-9/MYQ9 |
300 |
200 |
30 |
342 |
152 |
16 |
16 |
35 |
0.78 |
|
MY-10/MYQ10 |
325 |
225 |
367 |
0.82 |
|||||
|
MY-11/MYQ11 |
350 |
250 |
392 |
0.86 |
|||||
|
MY-12/MYQ12 |
375 |
255 |
421 |
176 |
0.94 |
||||
|
MY-13/MYQ13 |
400 |
280 |
446 |
0.98 |
|||||
|
MY-14/MYQ14 |
425 |
305 |
471 |
1.02 |
|||||
|
MY-15/MYQ15 |
450 |
330 |
496 |
1.06 |
|||||
|
MY-16/MYQ16 |
475 |
355 |
521 |
1.10 |
|||||
|
MY-17/MYQ17 |
500 |
360 |
551 |
200 |
1.19 |
||||
|
MY-18/MYQ18 |
525 |
375 |
578 |
213 |
1.25 |
||||
|
MY-19/MYO19 |
550 |
390 |
605 |
225 |
1.31 |
||||
|
MY-20/MYQ20 |
575 |
395 |
634 |
249 |
1.39 |
||||
|
MY-21/MYQ21 |
600 |
420 |
659 |
1.43 |
|||||
|
MY-22/MYO22 |
625 |
445 |
684 |
1.47 |
|||||
|
MY-23/MYO23 |
650 |
470 |
709 |
1.51 |
|||||
|
MY-24/MYO24 |
675 |
475 |
739 |
274 |
1.60 |
||||
|
MY-25/MYQ25 |
700 |
480 |
768 |
298 |
1.69 |
||||
|
MY-26/MYO26 |
725 |
505 |
793 |
1.72 |
|||||
|
MY-27/MYO27 |
750 |
530 |
818 |
1.76 |
|||||
|
MY-28/MYQ28 |
775 |
555 |
843 |
1.80 |
|||||
|
MY-29/MYQ29 |
800 |
580 |
869 |
1.84 |
|||||
|
MY-30/MYO30 |
825 |
605 |
893 |
1.88 |
|||||
|
MY-31/MYQ31 |
850 |
630 |
918 |
1.92 |
|||||

Technical Requirements
1.0Cr18Ni19 For welding between materials, F347 (GB/T983-1995) welding rods are used.
2.0Cr25Ni20 For welding between materials, F347 (GB/T983-1995) welding rods are used.
3.Q345AFor welding between materials, the welding rod used is F5015 (GB/T5117-1995).
4.The material for MY type anchors is 0Cr18Ni19; the material for MYA type anchors is 0Cr25Ni20; and the material for MYQ type anchors is Q345A.
\V-type anchor parameter table
|
Type |
Parameter |
||||
|
F |
L3 |
d |
r |
Single weight(kg) |
|
|
MV-1/MVQ-1 |
20 |
52 |
8 |
10 |
0.02 |
|
MV-2/MVQ-2 |
30 |
76 |
0.03 |
||
|
MV-3/MVQ-3 |
40 |
100 |
0.04 |
||
|
MV-4/MVQ-4 |
50 |
125 |
0.05 |
||
|
MV-5/MVQ-5 |
60 |
150 |
0.06 |
||
|
MV-6/MVQ-6 |
70 |
174 |
12 |
14 |
0.15 |
|
MV-7/MVQ-7 |
80 |
199 |
0.18 |
||
|
MV-8/MVQ-8 |
90 |
223 |
0.20 |
||
|
MV-9/MVQ-9 |
100 |
247 |
0.22 |
||

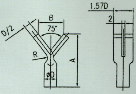
Y-type flat steel open anchor parameter table
|
Specification |
A value |
B value |
R value |
ФD |
Weight (grams) |
|
YSW--35 |
35 |
15 |
5 |
8 |
14.6 |
|
YSW--40 |
40 |
20 |
5 |
8 |
16.9 |
|
YSW--45 |
45 |
25 |
5 |
8 |
19.2 |
|
YSW--50 |
50 |
30 |
10 |
10 |
33.5 |
|
YSW--55 |
55 |
35 |
10 |
10 |
37.2 |
|
YSW--60 |
60 |
40 |
10 |
10 |
40.8 |
|
YSW--65 |
65 |
42 |
10 |
10 |
44.4 |
|
YSW--70 |
70 |
45 |
10 |
10 |
47.6 |
|
YSW--80 |
80 |
50 |
10 |
10 |
54.3 |
|
YSW--90 |
90 |
55 |
10 |
10 |
61.0 |
|
YSW--100 |
100 |
60 |
10 |
12 |
97.4 |
|
YSW--110 |
110 |
65 |
10 |
12 |
107 |
|
YSW--120 |
120 |
70 |
10 |
12 |
117 |
|
YSW--130 |
130 |
75 |
10 |
12 |
126 |
|
YSW--140 |
140 |
80 |
10 |
12 |
136 |
|
YSW--150 |
150 |
85 |
10 |
12 |
146 |
|
YSW--160 |
160 |
85 |
10 |
12 |
155 |
|
YSW--170 |
170 |
90 |
10 |
14 |
224 |
|
YSW--180 |
180 |
90 |
10 |
14 |
236 |
|
YSW--190 |
190 |
95 |
10 |
14 |
249 |
|
YSW--200 |
200 |
95 |
10 |
14 |
261 |
|
YSW--210 |
210 |
95 |
10 |
14 |
273 |
|
YSW--220-350 |
220-350 |
95 |
10 |
14 |
261+(A-200)*123 |

Technical Requirements
1.0Cr18Ni19 For inter-material welding, F347 welding rods are used.(GB/T983-1995)
2.0Cr25Ni20 For inter-material welding, F310 welding rods are used.(GB/T983-1995)
3.Q345A For inter-material welding, F5015 welding rods are used.(GB/T5117-1995)
4.The material for MV/Y type open anchors is 0Cr18Ni19.;
The material for the MVA/Y type open anchor is 0Cr25Ni20;
The material for MVQ/Y type open anchors is Q345A.
Hot Tags: Pin furnace anchor, China Pin furnace anchor manufacturers, suppliers, factory, Steelmaking Electric Furnace Top High Aluminum Products, Dense High Thermal Conductivity Silica Bricks, anchors for kilns, Microporous Nano Thermal Insulation Board, Refractory Prefabricated Parts for The Electronics Industry, Lime Calcined Dolomite Cement Rotary Kiln Castables Prefabricated Parts




